PENRIL DATABILITY NETWORKS

VISTA VCP-1000

Card Type

Ethernet router

Chip Set

Unidentified

I/O Options

NIC module, line interface module (4)

CONNECTIONS

Function

Label

Function

Label

1, A, B, and C button

B1

ENTER button

B10

2, D, E, and F button

B2

0, dash, comma, and underscore button

B11

3, G, H, and I button

B3

DELETE button

B12

4, J, K, and L button

B4

LEFT button

B13

5, M, N, and O button

B5

UP button

B14

6, P, Q, and R button

B6

DOWN button

B15

7, S, T, and U button

B7

RIGHT button

B16

8, V, W, and X button

B8

Power switch

SW1

9, Y, Z, and period button

B9

   

NIC Type

Ethernet

Processor

80186

Processor Speed

20MHz

Chip Set

Intel 82856

Maximum Onboard Memory

2MB DRAM/128K static RAM

I/O Options

PCMCIA Type I slot

Maximum network Rate

10Mbps

Data Bus

Proprietary

Topology

Linear Bus/Star

Wiring Type

Unshielded twisted pair

AUI transceiver via DB-15 port

RG-58A/U 50ohm coaxial

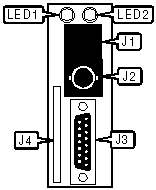
CONNECTIONS

Function

Label

Function

Label

Unshielded twisted pair

J1

AUI transceiver via DB-15 port

J3

RG-58A/U 50ohm coaxial

J2

PCMCIA Type I slot for memory card

J4

DIAGNOSTIC LED(S)

LED

Color

Status

Condition

LED1

Green

On

10Base-T network connection is good

LED1

Green

Off

10Base-T network connection is broken

LED2

Green

Blinking

Network activity detected

LED2

Red

On

Coaxial network connection is broken

LED2

Red

Blinking

Network collisions detected

LED2

N/A

Off

Network activity not detected

NIC Type

Ethernet

Processor

80186

Processor Speed

10MHz

Chip Set

Intel 82586

Maximum Onboard Memory

512KB DRAM/64K NVRAM/64KB static RAM

Maximum network Rate

10Mbps

Data Bus

Proprietary

Topology

Linear Bus/Star

Wiring Type

Unshielded twisted pair

AUI transceiver via DB-15 port

RG-58A/U 50ohm coaxial

CONNECTIONS

Function

Label

Function

Label

Unshielded twisted pair

J1

AUI transceiver via DB-15 port

J3

RG-58A/U 50ohm coaxial

J2

   

DIAGNOSTIC LED(S)

LED

Color

Status

Condition

LED1

Red

Blinking

Network activity detected

LED1

Red

Off

Network activity not detected

LED2

Green

On

10Base-T network connection is good

LED2

Green

Off

10Base-T network connection is broken

Card Type

Serial

Processor

Unidentified

Processor Speed

Unidentified

Chip Set

Unidentified

Maximum Onboard Memory

Unidentified

I/O Options

Serial ports (8)

Data Bus

Proprietary

CONNECTIONS

Function

Label

Function

Label

Serial ports 1 - 8

CN1-CN8

Connector for VCP-1000

W1

Card Type

Serial

Processor

Unidentified

Processor Speed

Unidentified

Chip Set

Unidentified

Maximum Onboard Memory

Unidentified

I/O Options

Serial ports (32)

Data Bus

Proprietary

CONNECTIONS

Function

Label

Function

Label

Serial ports 1 - 32

CN1-CN4

Connector for VCP-1000

W1

Serial ports 1 - 32

J1-J32

   

Note:The backplane of this card will have either J1-J32 installed or CN1-CN4 installed, but not both.